Close
Parts Finder
Back
Parts Finder
Ideal
Ideal Commercial
Keston
Keston Commercial
Hamworthy
Stockist Locator
About
Contact
ELAN RS 75P PROPANE
Make
ELAN
Model
ELAN RS
Type
RS75
UIN: 133548
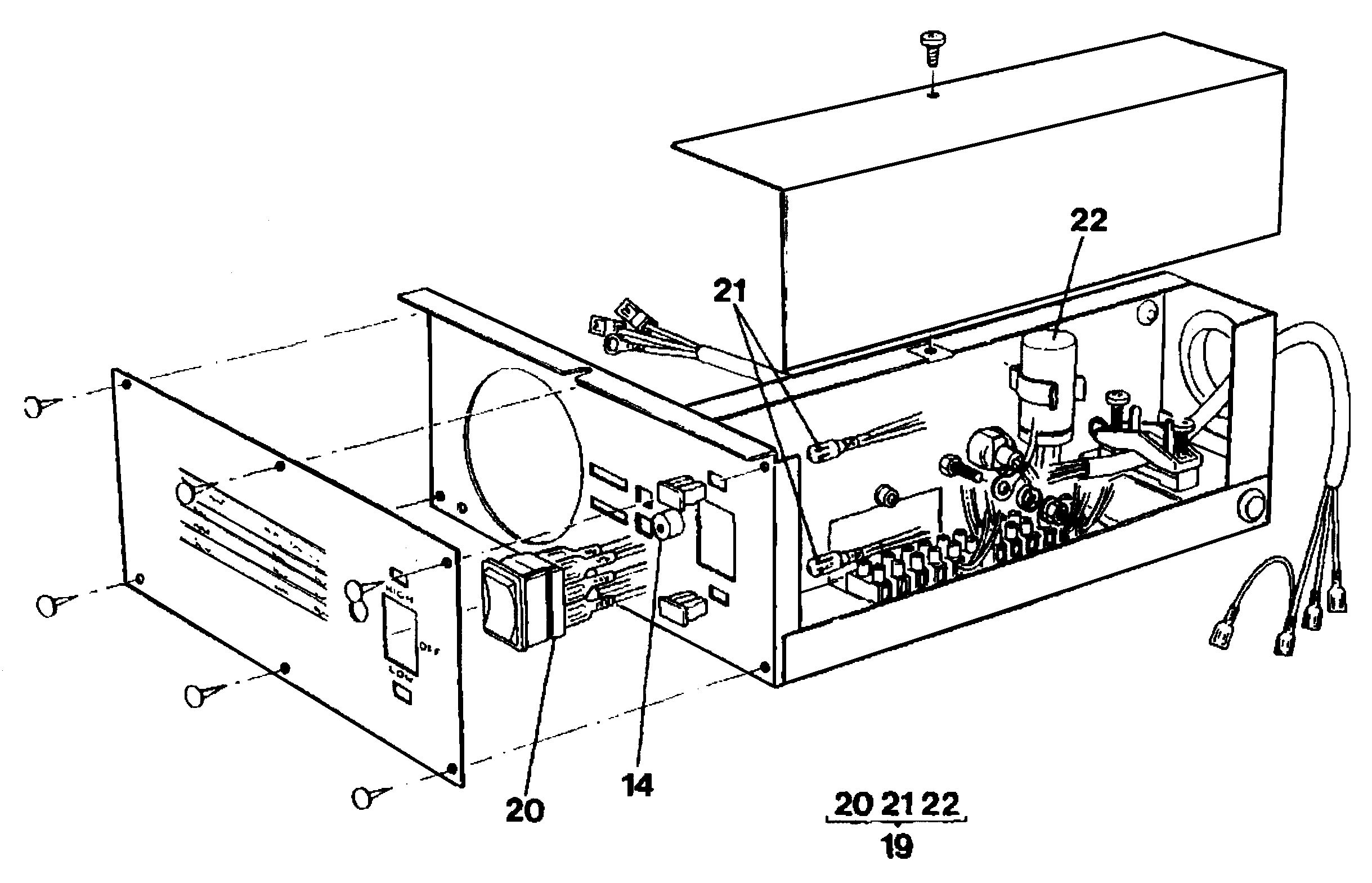
A17/A - Boiler Expanded
A17/B - Burner & Controls
A17/C - Controls
A17/D - Programmer
Parts Search
Key
UIN
Name
Model
Loading...