Close
Parts Finder
Back
Parts Finder
Ideal
Ideal Commercial
Keston
Keston Commercial
Hamworthy
Stockist Locator
About
Contact
Concord C Series 4 140-330 & P
Make
CONCORD
Model
CONCORD C
Type
Series 4
UIN: E5.0
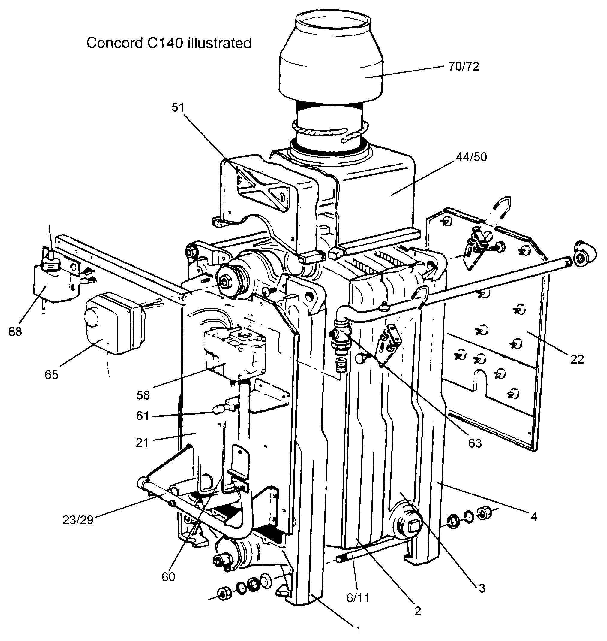
E5/A - Boiler Expanded
Parts Search
Key
UIN
Name
Model
Loading...