Close
Parts Finder
Back
Parts Finder
Ideal
Ideal Commercial
Keston
Keston Commercial
Hamworthy
Stockist Locator
About
Contact
Ideal Harrier
Make
HARRIER
Model
HARRIER
UIN: F31.0
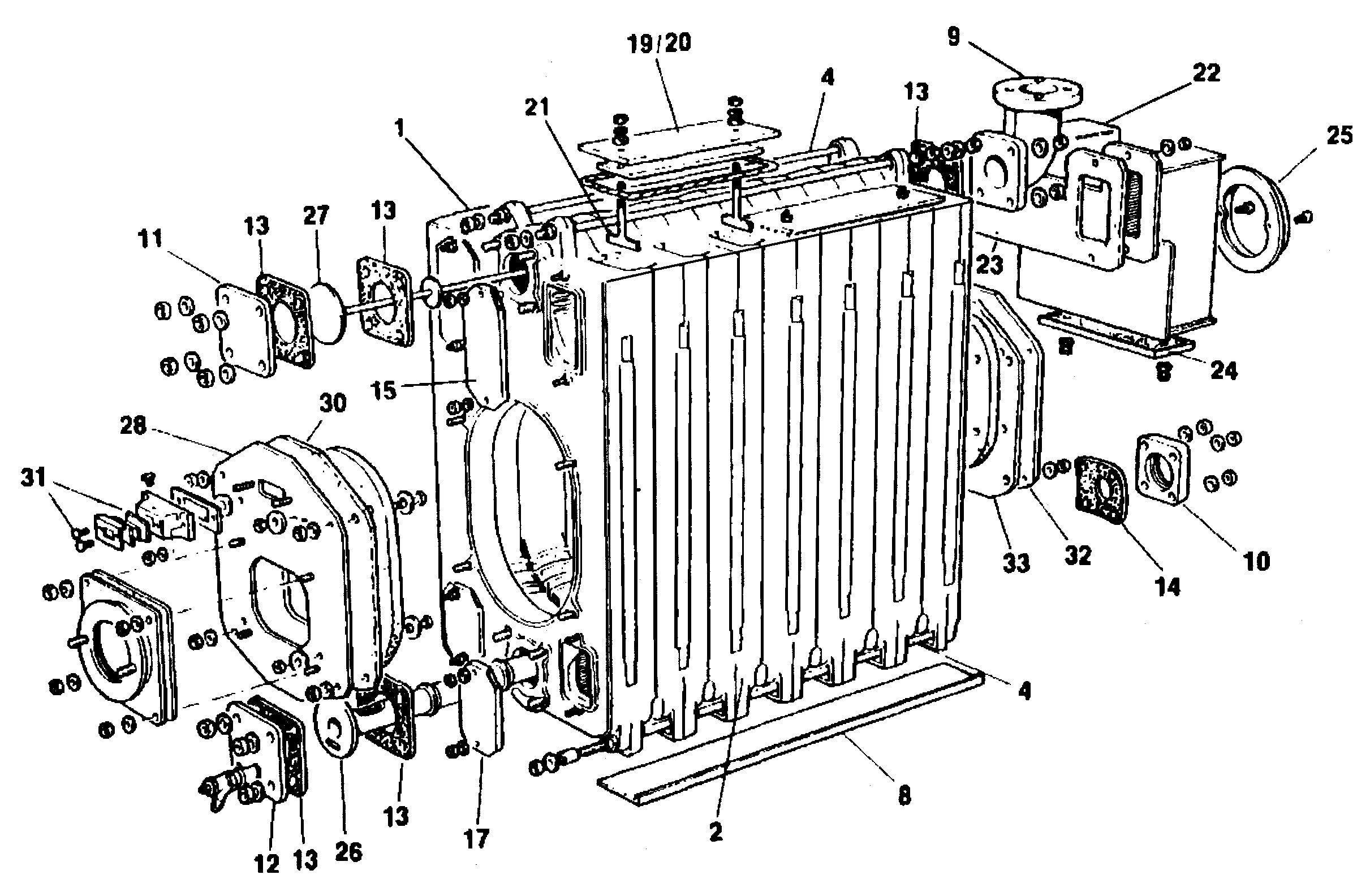
F31/A - Casing
F31/B - Boiler Expanded
Parts Search
Key
UIN
Name
Model
Loading...