Close
Parts Finder
Back
Parts Finder
Ideal
Ideal Commercial
Keston
Keston Commercial
Hamworthy
Stockist Locator
About
Contact
Broadstone HE
Make
Broadstone
Model
HE
Type
HE
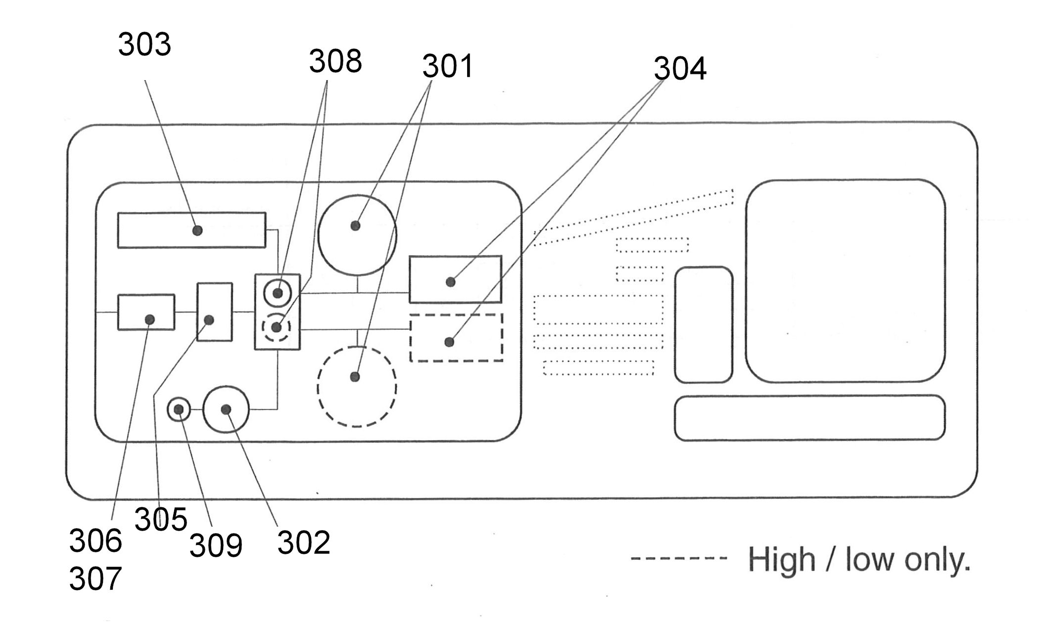
UIN: HH152
HH152 - Control Panel
HH152-Expanded
Parts Search
Key
UIN
Name
Model
Loading...