Close
Parts Finder
Back
Parts Finder
Ideal
Ideal Commercial
Keston
Keston Commercial
Hamworthy
Stockist Locator
About
Contact
Hamworthy Purewell Integra PI40 - PI100
Make
Purewell
Model
Integra - Pilot
Type
PI40 - PI100
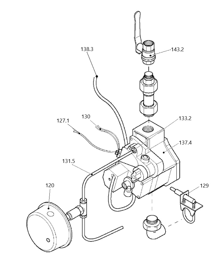
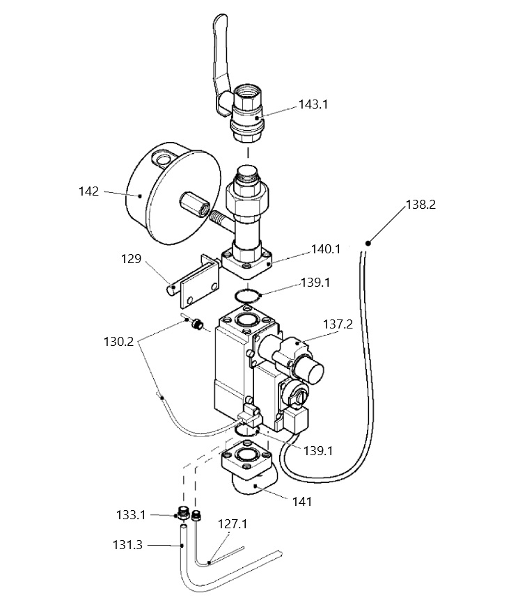
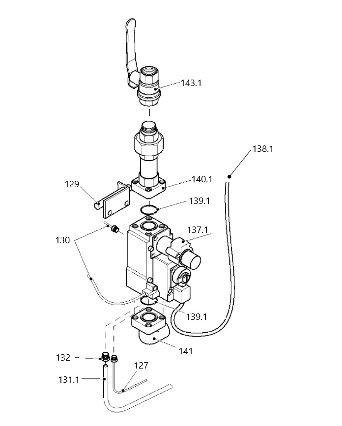
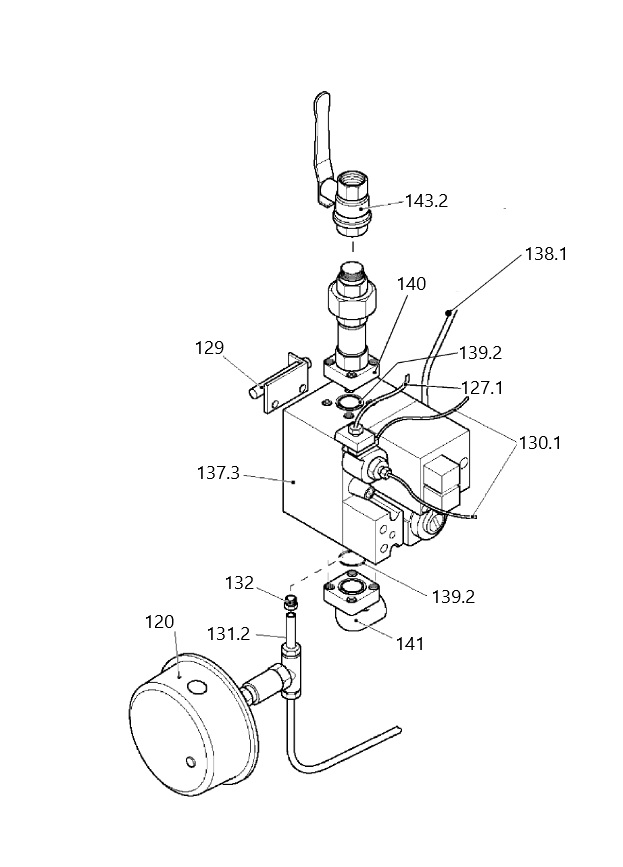
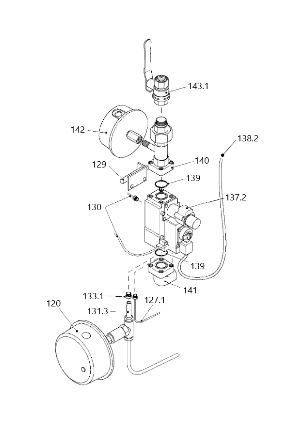
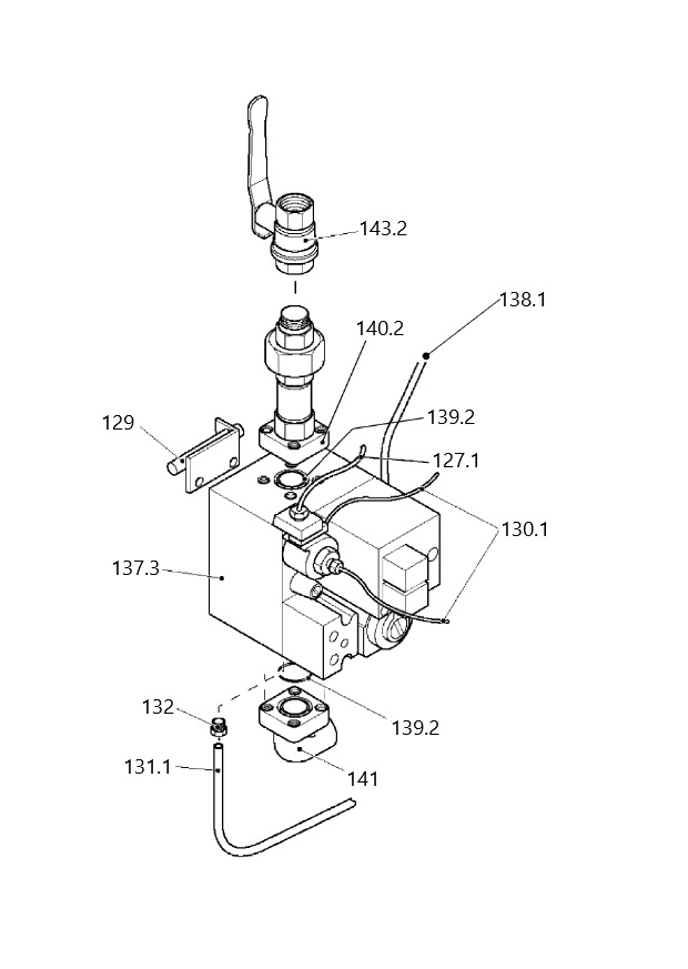
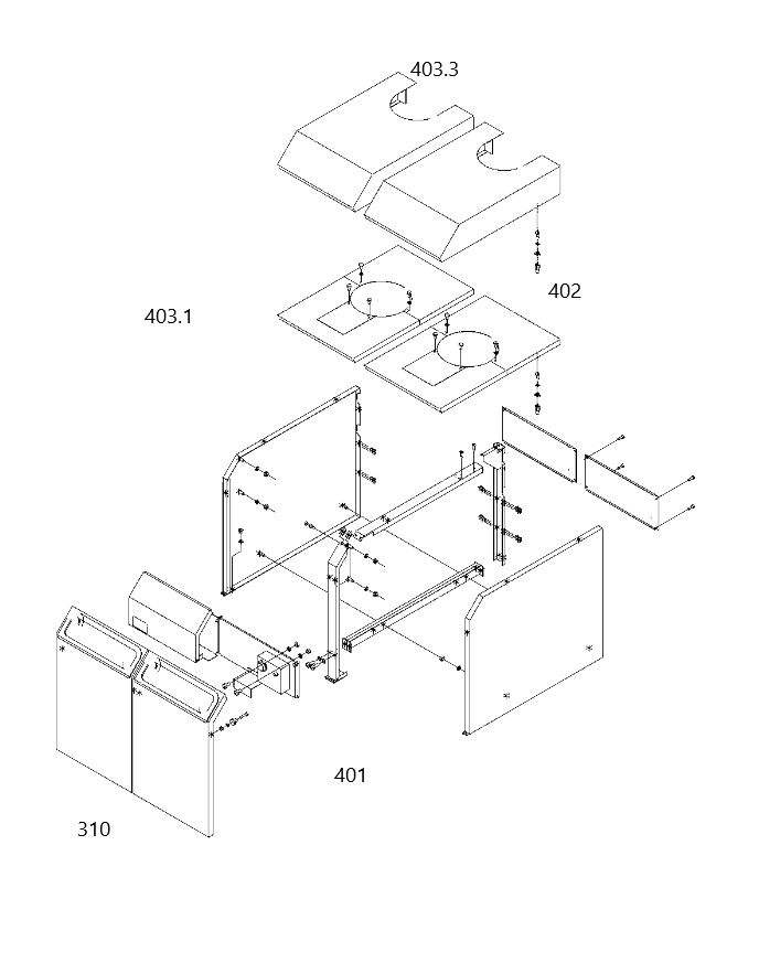
UIN: HH68
HH68-01
HH68-02
HH68-03
HH68-04
HH68-05
HH68-06
HH68-07
HH68-08
HH68-09
HH68-10
HH68-11
HH68-12
HH68-13
HH68-14
Parts Search
Key
UIN
Name
Model
Loading...