Close
Parts Finder
Back
Parts Finder
Ideal
Ideal Commercial
Keston
Keston Commercial
Hamworthy
Stockist Locator
About
Contact
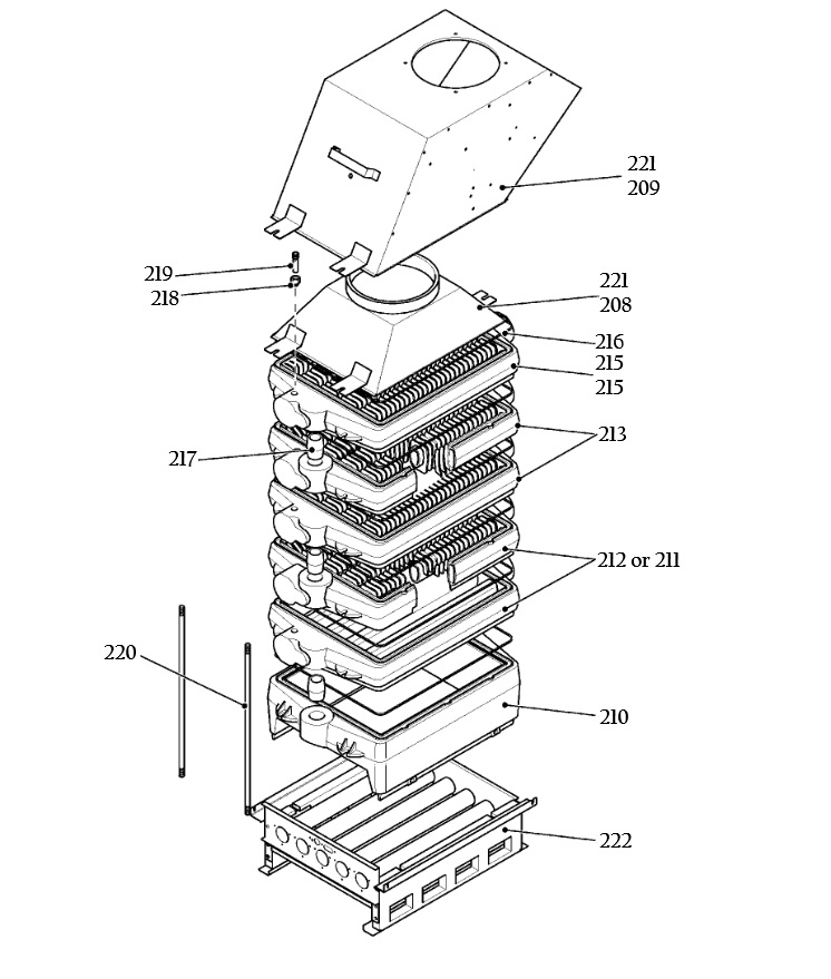
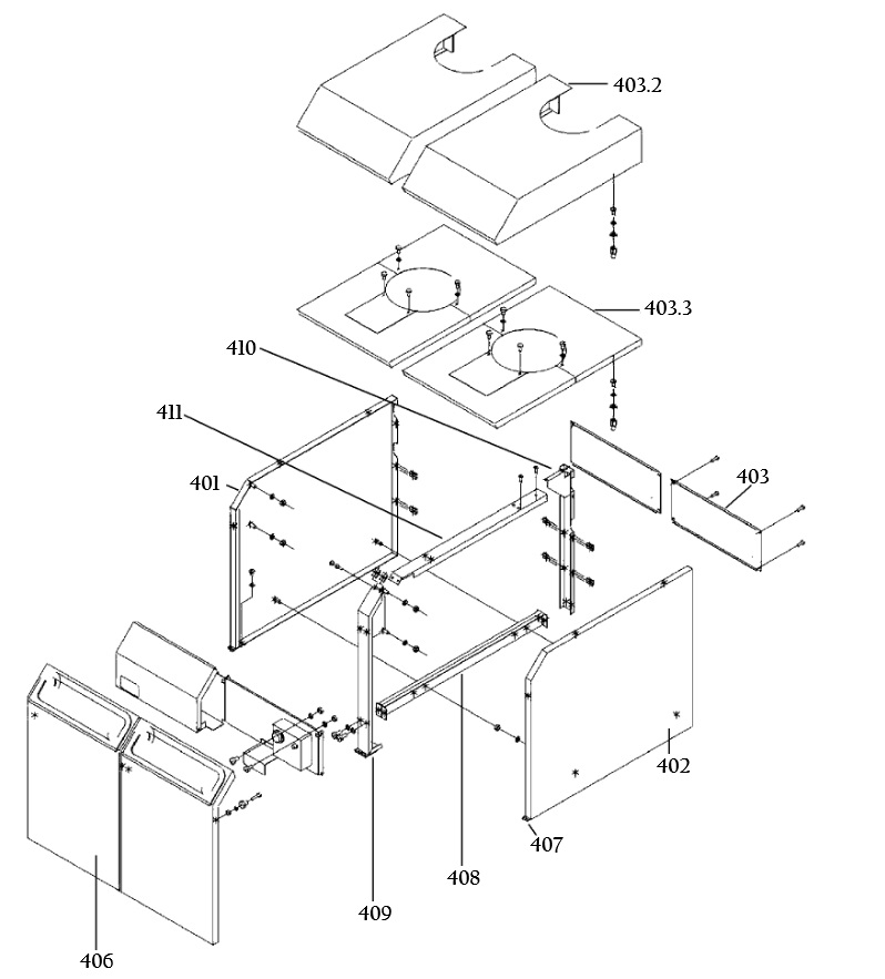
Hamworthy Purewell Integra (AUTO)
Make
Purewell
Model
Integra
Type
Auto
UIN: HH69
HH137
HH139
HH139
HH69-1
HH69-2
HH69-3
HH69-4
HH69-5
Parts Search
Key
UIN
Name
Model
Loading...