Close
Parts Finder
Back
Parts Finder
Ideal
Ideal Commercial
Keston
Keston Commercial
Hamworthy
Stockist Locator
About
Contact
Shaftesbury Slimline
Make
Shaftesbury
Model
Slimline
Type
Slimline
UIN: HH85
HH85-1
HH85-2
HH85-3
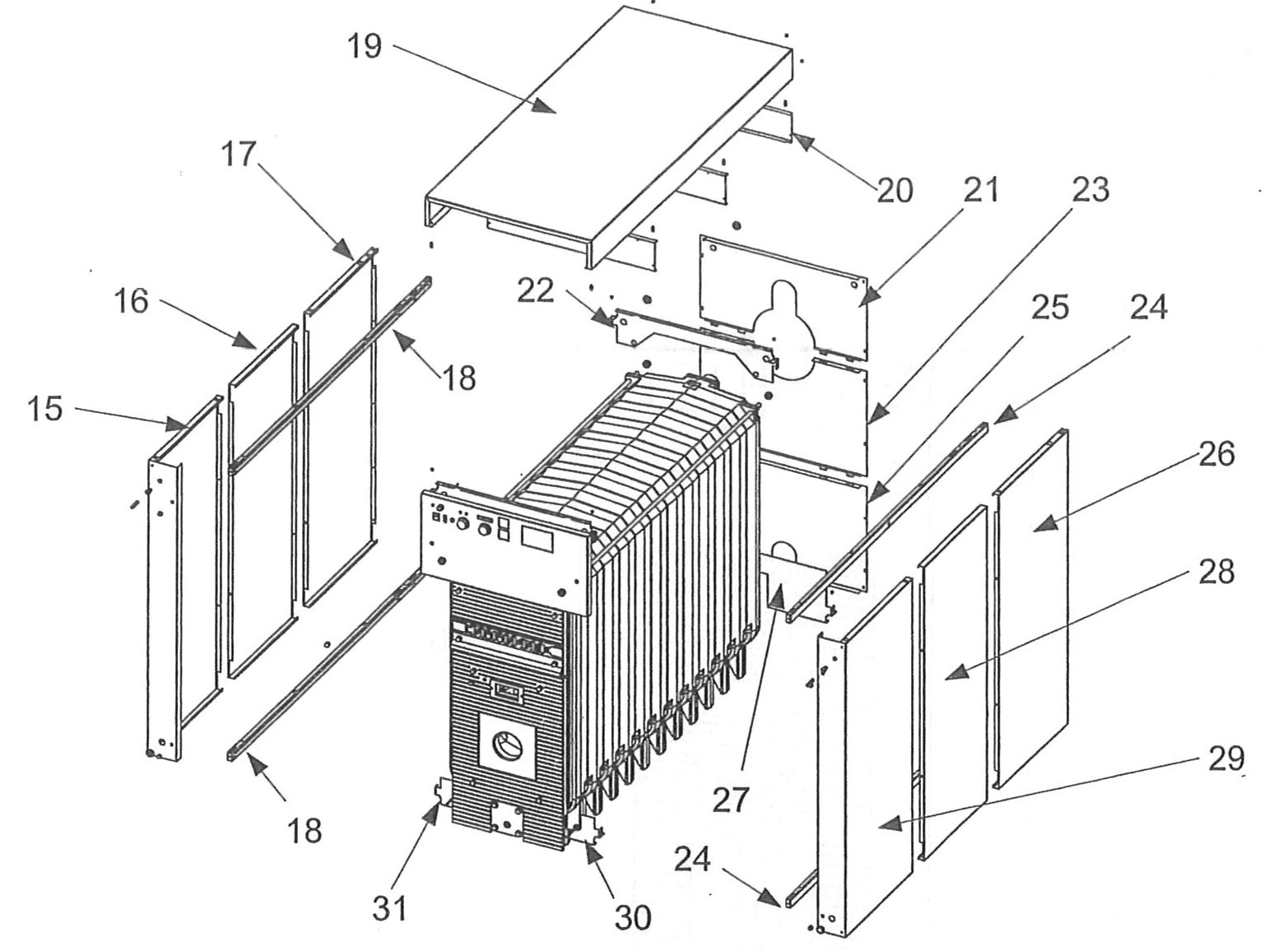
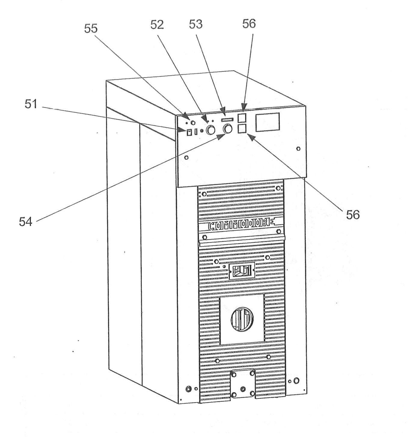
Parts Search
Key
UIN
Name
Model
Loading...